Каталог товаров
- Главная
- Навесное оборудование для вилочных погрузчиковКаретка бокового смещенияПозиционер вилЗахват для рулоновЗахват для кипРотаторЗахват для коробокЗахват для блоковПозиционеры вилМногоцелевой захватЗахват для пористых материаловЗахват для табакаЗахват для трехсторонней обработки грузаКаретки бокового смещенияСнеговые отвалыКовши с передним опрокидываниемУличные скребки
- Ротатор
- Ротатор серии Е XZQ35E-C003 для вилочного погрузчика
Ротатор серии Е XZQ35E-C003 для вилочного погрузчика
- Обзор
- Характеристики
- Отзывы0
Ротаторы предназначены для операций, требующих вращения груза или опорожнения резервуаров. Применяется в металлургической, химической, автомобильной, перерабатывающей и пищевой промышленности. Широкий диапазон грузоподъемности ротаторов предоставляет возможность подбора оборудования под разные задачи. Оснащенный функцией бокового смещения, он позволяет вилочному погрузчику перемещать груз из стороны в сторону, чтобы облегчить регулировку, штабелирование, погрузку и разгрузку товаров.
Функции и использование
Поворот на 360°. Широко используется в пищевой, химической, санитарно-технической, перерабатывающей, металлургической и литейной промышленности и т. д.
Функции
• Проверенная прочная конструкция, уникальная система привода обеспечивают высокую прочность и непрерывную работу.
• Редуктор и гидромотор спрятаны в задней части монтажной пластины, что обеспечивает превосходный обзор для водителя и защиту.
• Высокий крутящий момент вращения обеспечивает стабильную и надежную функцию вращения.
• Гидравлический мотор с реверсивным гидравлическим замком, функция блокировки под любым углом
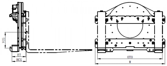
| Бренд | LONGHE |
| Грузоподъемность/ц.т (кг/мм) | 3500/600 |
| Класс крепления | III |
| Вертикальный центр тяжести VCG(мм) | 302 |
| Толщина основания ET(мм) | 228 |
| Горизонтальный центр тяжести HCG(мм) | 138 |
| Особенности | Примечание: 1. Пожалуйста, свяжитесь с производителем погрузчика для получения информации об остаточной грузоподъемности погрузчика с навесным оборудованием. 2. Требуется 1 дополнительный гидравлический контур. 3. Вилы в компелкт на входят * Дополнительная информация по запросу |
| Минимальная ширина каретки погрузчика (мм) | 800 |
| Ширина каретки W(мм) | 1150 |
| Вращающий момент | 9000Nm/160Bar |
| Скорость вращения | 5.2r/min - 60L/min |
| Номинальное давление (Bar) | 160 |
| Расход масла (Л/мин). Рекомендуемый | 20-60 |
| Расстояние между вилами OTO(мм) | 1080 |
| Вес | 382 кг |
| Тип | Rotator |
Ротатор серии Е XZQ35E-C003 для вилочного погрузчика отзывы
Категории:РотаторНавесное оборудование для вилочных погрузчиков

























