- Главная
- Навесное оборудование для вилочных погрузчиковКаретка бокового смещенияПозиционер вилЗахват для рулоновЗахват для кипРотаторЗахват для коробокЗахват для блоковПозиционеры вилМногоцелевой захватЗахват для пористых материаловЗахват для табакаЗахват для трехсторонней обработки грузаКаретки бокового смещенияСнеговые отвалыКовши с передним опрокидываниемУличные скребки
- Захват для кип
- Поворотный захват для кип RBX27D-C001 на вилочный погрузчик
Поворотный захват для кип RBX27D-C001 на вилочный погрузчик
- Обзор
- Характеристики
- Отзывы0
Поворотный Захват для кип и тюков применяется практически для обработки любого типа кип и тюков, включая тюки хлопка, синтетики, текстиля, гофрированного картона, бумаги, тряпки, сена, металлического и другого лома в условиях работы без поддонов. Обычно используется в таких отраслях, как переработка материалов, бумажные комбинаты, железнодорожный транспорт, логистические центры, порты, текстильная промышленность и т. д.
Характеристики стандартного зажима для тюков
? В конструкции захвата используется Т-образные профили для скольжения лап, которые имеют высокую прочность и износостойкость
? Т-образные профили изготовлены из высокопрочной легированной стали и отвечают высоким эксплуатационным требованиям.
? Износостойкие вкладыши скольжения для увеличения срока службы.
? Специальная конструкция внутренней стороны лап с увеличенным коэффициентом трения Регенеративный гидравлический клапан для оптимизации скорости движения лап.
Разные модификации и настройки стандартного захвата для кип
? Изготовления захватов с разным раскрытием
? Нестандартные размеры лап по запросу
? Специальные ребра против скольжения на лапах
? Доступны различные классы крепления
? Защитная решетка опционально
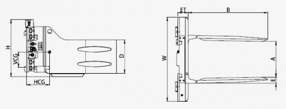
| Бренд | LONGHE |
| Грузоподъемность/ц.т (кг/мм) | 2700/500 |
| Класс крепления | III |
| Вертикальный центр тяжести VCG(мм) | 335 |
| Толщина основания ET(мм) | 298 |
| Горизонтальный центр тяжести HCG(мм) | 432 |
| Особенности | Рекомендуемый расход масла: 40л/мин –120л-мин 1. Давление: 160 Бар 2. Требуется 2 дополнительных гидравлических контура. 3. Раскрытие захвата равно расстоянию между концами лап 4. Размер Е указывает на расстояние для захвата груза (расстояние между кипами) 5. С боковым смещением Примечание: Пожалуйста, свяжитесь с производителем погрузчика для получения информации об остаточной грузоподъемности погрузчика с навесным оборудованием. * Дополнительная информация по запросу |
| Раскрытие A(мм) | 560-1910 |
| Arm Height D(mm) | 460 |
| Arm Length B(mm) | 1180 |
| Frame Width W(mm) | 1050 |
| Arm Thickness E(mm) | 80 |
| Overall Height H(mm) | 775 |
| Вес | 790 кг |
| Тип | Bale Clamp |
Категории:Захват для кипНавесное оборудование для вилочных погрузчиков





















